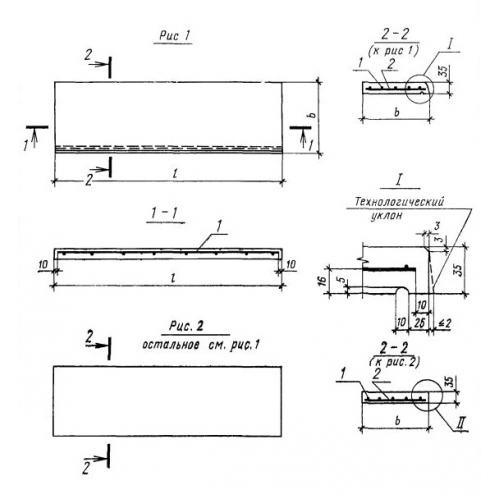
ПО 3.10 плиты подоконные

Чертеж изделия:
Характеристики изделия:
ПараметрЗначение
длина300 мм
ширина100 мм
высота35 мм
масса3 кг
нормативный документГОСТ 8484-82

ПО 3.10  Плиты подоконные ГОСТ 8484-82.