Ф5

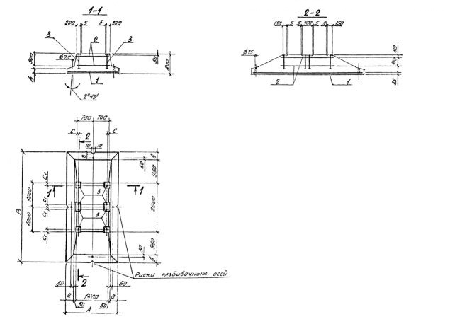
Чертеж изделия:
Характеристики изделия:
ПараметрЗначение
длина2400 мм
ширина4800 мм
высота800 мм
масса12800 кг
нормативный документСерия 0-122-84

Ф5 Плиты фундаментные по Серии 0-122-84.