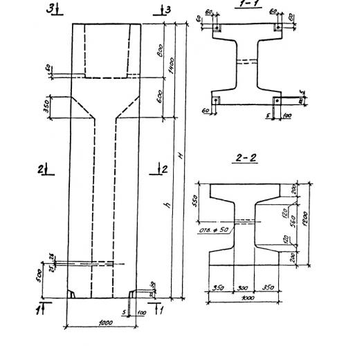
ВБ 10.12.36

Чертеж изделия:
Характеристики изделия:
ПараметрЗначение
длиина1000 мм
ширина1200 мм
высота3590 мм
вес7560 кг
серия0-221-84

ВБ 10.12.36 Блоки-стаканы верхние по серии 0-221-84.