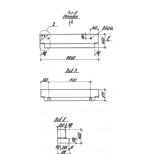
РЛР 4.26 ригели

Чертеж изделия:
Характеристики изделия:
ПараметрЗначение
длина2560 мм
ширина375 мм
высота450 мм
масса900 кг
нормативный документСерия 1.020-1/83

РЛР 4.26  Ригели  Серия 1.020-1/83.