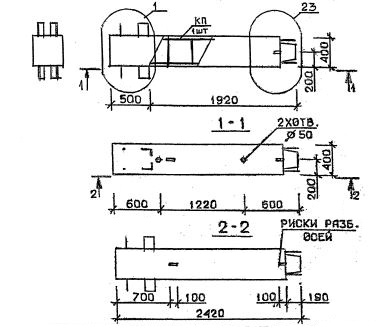
КВ 33

Чертеж изделия:
Характеристики изделия:
ПараметрЗначение
длина2420 мм
ширина400 мм
высота400 мм
масса967 кг
нормативный документСерия 1.020.1-2с/89

КВ 33  Колонны верхние Серия 1.020.1-2с/89.