3КНО 36.48

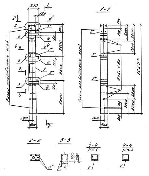
Чертеж изделия:
Характеристики изделия:
ПараметрЗначение
длина13250 мм
ширина400 мм
высота550 мм
масса5380 кг
нормативный документСерия 1.020.1-4

3КНО 36.48    Колонны одноконсольные для нижних этажей (Серия 1.020.1-4).

Маркировка с учетом диаметра угловых и промежуточных стержней арматуры, в мм. и марки бетона:

3КНО 36.48-3.20.00

3КНО 36.48-3.22.00

3КНО 36.48-3.25.00

3КНО 36.48-3.28.00

3КНО 36.48-3.32.00

3КНО 36.48-4.32.00

3КНО 36.48-5.32.00

3КНО 36.48-3.36.00

3КНО 36.48-3.40.00 

3КНО 36.48-4.40.00

3КНО 36.48-5.40.00

3КНО 36.48-5.32.28