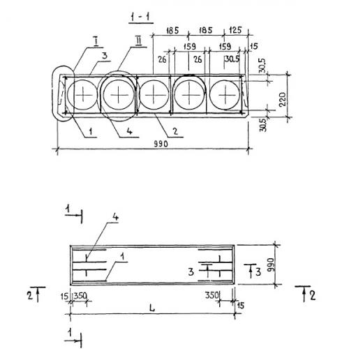
ПК 36.10 Плиты перекрытия железобетонные многопустотные

Чертеж изделия:
Характеристики изделия:
ПараметрЗначение
длина3580 мм
ширина990 мм
высота220 мм
масса1055 кг
нормативный документСерия 1.141-1

ПК 36.10  Плиты перекрытия железобетонные многопустотные Серия 1.141-1.