ПК 57.10 Плиты перекрытия железобетонные многопустотные

Чертеж изделия:
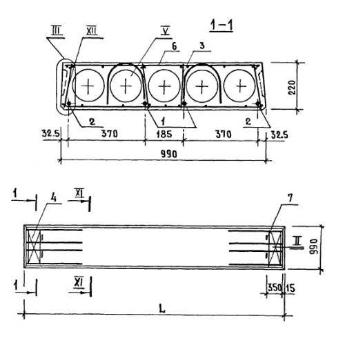
Характеристики изделия:
ПараметрЗначение
длина5680 мм
ширина990 мм
высота220 мм
масса1650 кг
нормативный документСерия 1.141-1

ПК 57.10  Плиты перекрытия железобетонные многопустотные Серия 1.141-1.