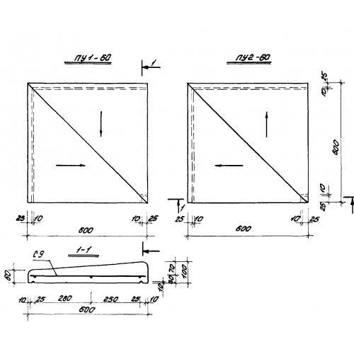
ПУ 60
Характеристики изделия:
| Параметр | Значение |
|---|---|
| длина | 600 мм |
| ширина | 600 мм |
| высота | 100 мм |
| вес | 48 кг |
| серия | 1.438-1 |
Цена:
Рассчитать стоимостьПУ 60 Плиты парапетные угловые по серии 1.438-1.
| Параметр | Значение |
|---|---|
| длина | 600 мм |
| ширина | 600 мм |
| высота | 100 мм |
| вес | 48 кг |
| серия | 1.438-1 |
ПУ 60 Плиты парапетные угловые по серии 1.438-1.
