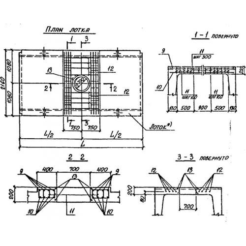
Ло 22

Чертеж изделия:
Характеристики изделия:
ПараметрЗначение
длина5970 мм
ширина2160 мм
высота1640 мм
масса5450 кг
нормативный документСерия 3.006.1-2/82

Ло 22 Лотки теплотрасс с отверстиями Серия 3.006.1-2/82.