Лу 31

Чертеж изделия:
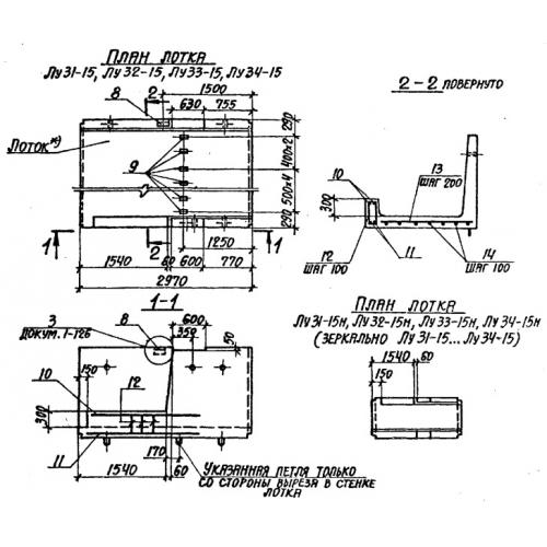
Характеристики изделия:
ПараметрЗначение
длина2970 мм
ширина3380 мм
высота780 мм
масса5480 кг
нормативный документСерия 3.006.1-2/82

Лу 31  Лотки теплотрасс угловые Серия 3.006.1-2/82.