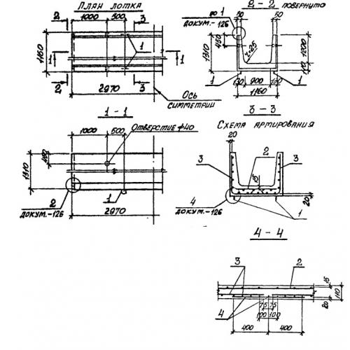
Л 9/2 лотки

Чертеж изделия:
Характеристики изделия:
ПараметрЗначение
длина2970 мм
ширина1160 мм
высота1310 мм
масса2550 кг
нормативный документСерия 3.006.1-2/87

Л 9/2 Лотки теплотрасс Серия 3.006.1-2/87.