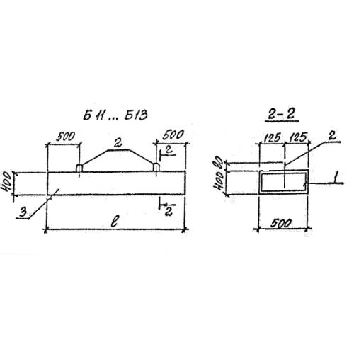
Б 12 балки

Чертеж изделия:
Характеристики изделия:
ПараметрЗначение
длина4270 мм
ширина500 мм
высота400 мм
масса2080 кг
нормативный документСерия 3.006.1-8

Б 12  Балки перекрытия каналов Серия 3.006.1-8.