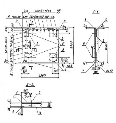
ПДУ 230.240.20 плиты днища

Чертеж изделия:
Характеристики изделия:
ПараметрЗначение
длина2300 мм
ширина2380 мм
высота200 мм
масса2430 кг
нормативный документСерия 3.006.1-8

ПДУ 230.240.20  Плиты днища каналов угловые Серия 3.006.1-8.