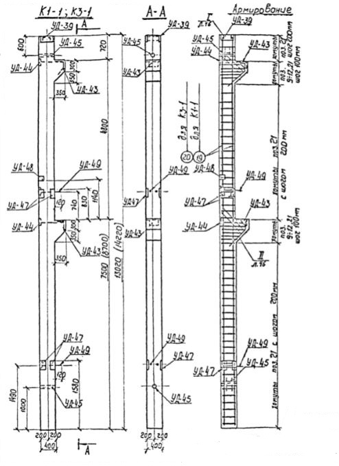
К колонна

Чертеж изделия:
Характеристики изделия:
ПараметрЗначение
длина14220 мм
ширина400 мм
высота400 мм
масса6450 кг
нормативный документСерия 3.407-102

К  Бетонные армированные колонны Серия 3.407-102.