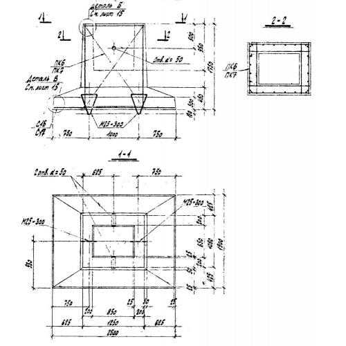
ФЖ 17

Чертеж изделия:
Характеристики изделия:
ПараметрЗначение
длина2500 мм
ширина1900 мм
высота1750 мм
масса8100 кг
нормативный документСерия 71159-С

ФЖ 17  Фундаменты колонн стаканного типа по Серии 71159-С.