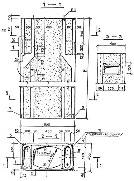
БВ 36-1

Чертеж изделия:
Характеристики изделия:
ПараметрЗначение
Длина L800 мм
Ширина В400 мм
Высота Н3580 мм
Вес1250 кг
СерияИИ 01-00
Норма погрузки на машину (20тн)16 шт
Вагонная норма погрузки-

Вентблоки БВ 36-1 изготавливается по рабочим чертежам альбома ИИ01-00, которые применяются при возведении жилых и общественных зданий, строящихся в обычных условиях.