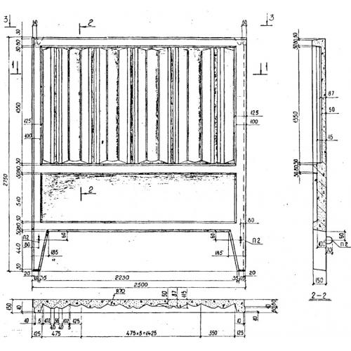
ПО-15 плиты забора

Чертеж изделия:
Характеристики изделия:
ПараметрЗначение
длина2500 мм
ширина150 мм
высота2750 мм
масса1490 кг
нормативный документСерия ИЖ 31-77

ПО-15  Плиты ограждения по  Серии ИЖ 31-77.